

Marley Soldan
Class of 2025Tacoma, WA
About
Hello, my name is Marley Soldan and I created the first functional prosthetic speedskate! I am combining my knowledge of speedskating as a Junior World Vice Champion and Youth Olympian and my experience with biomedical engineering, to help bring speedskating to the Paralympics! When I am not designing or tinkering with various projects, I enjoy reading, fostering kittens, hiking, and baking.Projects
- "Speed Skating Prosthetic" with mentor Alex (Sept. 3, 2024)
Project Portfolio
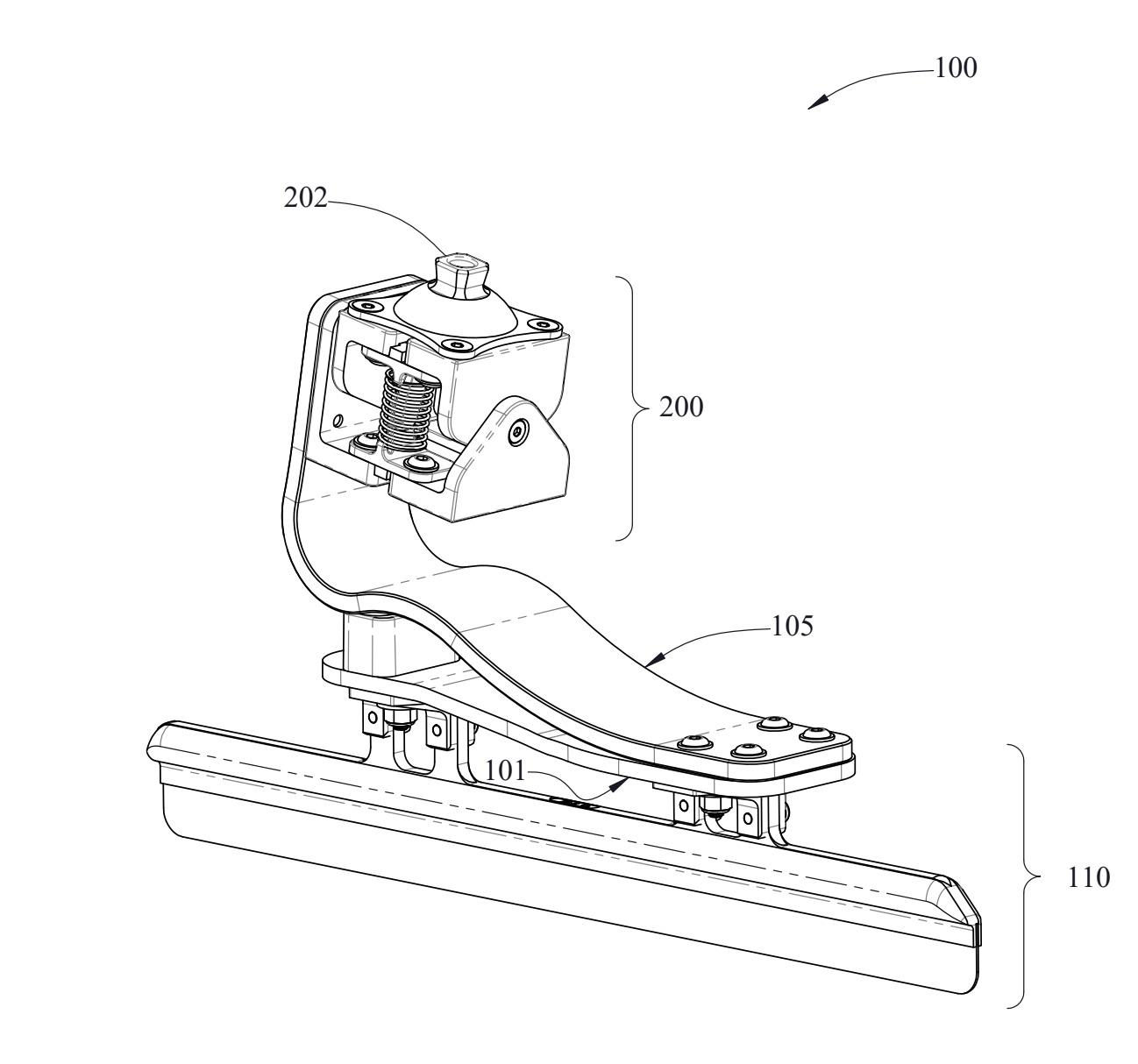
Speed Skating Prosthetic
Started July 28, 2023

Abstract or project description
Speedskating is renowned for its combination of speed, agility, and precision, but it remains largely inaccessible to para-athletes, especially those with below-the-knee amputations due to the lack of suitable prosthetic designs. This study addresses this gap by conceptualizing and prototyping a prosthetic short track speedskate. The proposed design integrates a flexible carbon fiber bridge coupled to a steel plate, an innovative ankle design with adjustable extension springs, and a universal pyramid adapter for attachment to existing prosthetic limbs. The ankle mechanism allows for crucial movements such as dorsiflexion, plantar flexion, eversion, and inversion, thereby mimicking the natural range of motion necessary for effective speedskating. The methods involved detailed analysis and adaptation of previously existing prosthetic design technologies, with a greater focus on the optimization of power transfer, stability, and comfort. The final prototype demonstrates the significant potential of enabling below-the-knee amputees to participate in speedskating. This marks a pioneering step in adaptive sports technology. Not only does this research enhance the inclusivity of speedskating, but it also lays the foundation for future advancements, contributing to the accessibility and diversity of the sport.